Изотопы

Содержание

  1. 1. Масс-спектрометр
  2. 2. Особенности изотопов
  3. 3. Тест по теме «Изотопы»

Протонно-нейтронное строение ядра наглядно проявляется при изучении изотопов.

Изотопами называют разновидности химических элементов, в которых атомные ядра имеют одинаковое зарядовое число Z, но разные массовые числа.

Исследования показали, что во всех случаях атомные массы изотопов выражаются числами, очень близкими к целым; разница от целых чисел составляют тысячные доли единицы. Это указывает на то, что атомные ядра изотопов всех элементов построены из одних и тех же частиц, масса которых очень близка к атомной единице.

Масс-спектрометр

Точные исследования изотопов были проведены английским физиком Ф. В. Астоном в 1919 на масс-спектрометре – приборе, который позволяет благодаря действию электрических и магнитных полей разделять пучки заряженных частиц (ионов) на составляющие с разным отношением массы частицы к заряду.

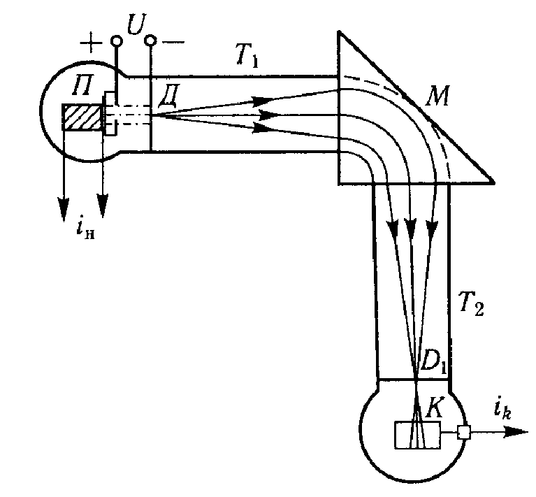
Схема одного из современных масс-спектрометров показана на рисунке ниже:

изотопы1.png

В масс-спектрометре исследуемое вещество в электрической печи П нагревается и испаряется. Через отверстие из печи выходит атомный пучок, который далее в специальном устройстве способом электронной бомбардировки ионизируется. Образуются ионы ускоряются в направлении диафрагмы D электрическим полем с напряжением U. Немного расходящийся ионный пучок по трубе Т попадает в магнитное поле между призмоподобными полюсами М электромагнита. Здесь ионы изменяют направление движения и тем самым магнитным полем фокусируются на коллектор К, который собирает ионы. Ионный ток с коллектора подается на усилитель, после которого измеряется с очень большой точностью.

Пространство с электрической печью, трубами Т и коллектором составляет единый объем, в котором поддерживается высокий вакуум (давление порядка 10-4 Па). Вместо коллектора К в месте схождения ионов нередко размещают фотопластинку (или иной детектор); на ней одновременно в разных местах фиксируются изображения щели Dx ионов различных масс, благодаря чему получают масс-спектрограмму.

С помощью масс-спектрограмм Астон доказал, что почти все элементы состоят из изотопов.

С помощью масс-спектрографа были обнаружены также ядра с одинаковыми массовыми числами А, но с разными зарядовыми числами Z. Их называют изобарами.

Особенности изотопов

Различные изотопы элементов отличаются количеством нейтронов в ядре.

Сейчас известно, что некоторые элементы (водород, бор, кадмий и т.д.) имеют свойство захватывать нейтроны и образовывать изотопы. Например, легкий водород (11Н), захватывая один нейтрон, образует тяжелый водород – дейтерий (21D), а когда захватывает еще один нейтрон – тритий (31Т).

Изотопы водорода и гелия имеют важное значение в физических исследованиях ядра. В оболочке атома водорода только один электрон, атома гелия – два электрона. Поэтому их можно сравнительно легко «сорвать», получив ядра этих элементов. Тяжелые изотопы водорода играют существенную роль в осуществлении ядерных реакций синтеза и деления. Следует отметить, что хотя молекулярные свойства вещества определяются вообще не ядром, а строением электронной оболочки, все же физические свойства тяжелых изотопов и обычного водорода заметно различаются. Например:

  • точка кипения дейтерия – 23,5 К, а обычного водорода - 20,4 К;
  • молярная теплота испарения дейтерия – 1292 Дж / моль, а обычного водорода – 908 Дж / моль.

Важные свойства имеет тяжелая вода, то есть вода, в молекулах которой вместо атомов легкого водорода содержится дейтерий.

  • Плотность тяжелой воды – 1,1 · 103 кг / м3.
  • Температура максимальной ее плотности - 284,7 К, а обычной воды - 278.1 К.
  • Точка кипения тяжелой воды – 374,5 К, а обычной воды - 373.1 К.
  • При охлаждении тяжелая вода замерзает при 276,9 К.
  • Тяжелая вода негативно сказывается на развитии некоторых микроорганизмов.

Однако заметные изменения свойств изотопов наблюдаются только у легких элементов. Объясняется это тем, что у тяжелых элементов отношение массы ядра к массе нейтрона гораздо больше.

Не получается самостоятельно разобраться с темой? Заказать написание статьи по физике!

Тест по теме «Изотопы»

Комментарии

Нет комментариев

Предыдущая статья

Нейтрино
Не можешь разобраться в этой теме?
Обратись за помощью к экспертам
Гарантированные бесплатные доработки в течение 1 года
Быстрое выполнение от 2 часов
Проверка работы на плагиат
Прямой эфир